Acr1330.tmp
|
|
|
|
|
|
|
|
|
|
|
|
|
|
|
|
|
|
|
|
|
|
|
|
|
|
|
Настенные газовые котлы с выносной панелью
|
|
|
|
|
|
|
|
|
|
 |
|
|
|
|
управления и встроенным бойлером |
|
|
|
|
|
|
|
|
|
|
|
|
|
240 i / 280 i
|
|
|
|
|
|
|
|
|
|
 |
|
|
|
|
|
|
|
|
|
|
|
|
|
|
|
|
|
|
|
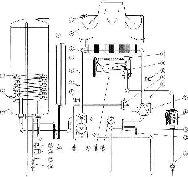
Обозначения:
|
|
|
|
|
|
|
|
|
|
|
|
|
|
|
|
|
1 - |
бойлер ГВС |
16 |
- автоматический воздухоотводчик |
|
|
2 - |
датчик температуры бойлера |
17 |
- насос |
|
|
3 - |
змеевик бойлера |
18 |
- газовый клапан |
|
|
4 - |
расширительный бак |
19 |
- фильтр на возврате воды |
|
|
5 - |
кран слива воды из котла |
20 |
- автоматический байпас |
|
|
6 - |
датчик температуры (тип NTC) контура отопления |
21 |
- газовый кран |
|
|
7 - |
термостат перегрева |
22 |
- манометр |
|
|
8 - |
электрод зажигания |
23 |
- горелка |
|
|
9 - |
первичный теплообменник |
24 |
- трехходовой клапан |
|
|
10 |
- дымовой колпак |
25 |
- мотор трехходового клапана |
|
|
11 |
- термостат - датчик тяги |
26 |
- кран заполнения системы отопления |
|
|
12 |
- электрод контроля пламени |
27 |
- сбросной предохранительный клапан бойлера (6 бар) |
|
|
13 |
- рампа подачи газа с форсунками |
28 |
- кран слива воды из бойлера |
|
|
14 |
- сбросной предохранительный клапан системы |
29 |
- ограничитель протока воды |
|
|
|
отопления (3 бар) |
30 |
- кран на входе холодной воды |
|
|
15 |
- дифференциальный гидравлический прессостат (датчик работы насоса) |
31 |
- расширительный бак контура ГВС (на схеме не показан) |
|
|
|
|
|
|
|
|
|
|
|
|
|
|
|
|
|
|
|
|
|
|
|
|
|
|
|
|
|
|
|
|
|
|
|
|
|
|
|
|
|
|
|
|
|
|
|
|
|
|
|
|
|
|
|
|
|
|
|
|
|
|
|